PWV(脈搏波傳導速度),評價主動脈,大動脈,中動脈僵硬度指標。
通過R-R間隔均值、R-R間隔標準差、R-R間隔平均值、HR平均值、CVRR、R-R直方圖、R-R趨勢圖、心電圖判斷心血管自主神經功能。
確診ABI處于臨界狀態或間歇性跟行的人群是否存在下肢動脈疾病。
ABI(踝臂指數),評價下肢動脈阻塞程度;BAI(臂踝指數),評價上肢近端動脈阻塞程度。
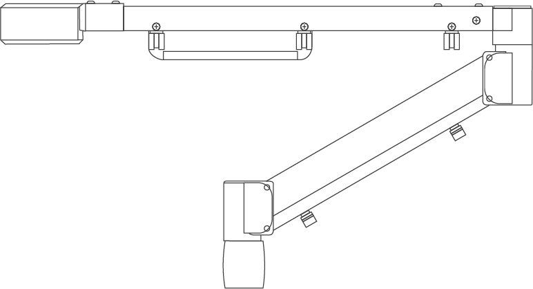
動脈硬化檢測儀輔助支臂是南京科進實業有限公司的專利設計(專利號:ZL 2022 3 0045108.8),可以有效輔助操作者對受檢者進行檢測,提高檢測效率和用戶體驗。
動脈硬化檢測的核心價值在于可以無創檢測血管狀態,為發現心血管問題提供依據,下面為大家介紹下: 早期篩查和風險預警 早期動脈硬化尚無明顯癥狀,可以通過檢測脈搏波傳導速更多>
如今快節奏的生活、混亂的飲食習慣,心血管問題正逐漸從中老年群體往年輕一代轉移。其中動脈硬化是大家關注的焦點,下面為大家介紹下動脈硬化的危害和早期檢測的優勢。 動脈硬更多>
在當今追求健康生活的時代,人們對自身健康狀況的關注度日益提升,而動脈硬化作為許多嚴重心血管問題的隱形殺手,其早期檢測顯得尤為重要。這就不得不提到動脈硬化檢測裝置廠更多>
一個和健康息息相關的重要話題動脈硬化檢測。你可能會想,這動脈硬化檢測真的有那么重要嗎? 什么是動脈硬化呢? 簡單來說呀,動脈硬化就像是我們身體里的管道出了問題。我們的血更多>
隨著生活水平的提升,人們越來越注重身體健康。其中動脈硬化是大家時常聽到的話題,下面就給大家介紹下動脈硬化檢測的重要性以及價值。 一、動脈硬化哪些人建議檢測 動脈硬化更多>
在快節奏的現代生活中,心腦血管問題悄然成為威脅人們健康的隱形殺手。動脈硬化作為這些問題的元兇之一,其早期檢測顯得尤為重要。動脈硬化檢測儀,這一高科技醫療設備的問世更多>
Copyright ? 1996-2024 南京科進實業有限公司版權所有
輻射安全許可證編號:蘇環輻證[A0764] 《互聯網藥品信息服務資格證書》編號:(蘇)-非經營性-2024-0122?蘇ICP備14049643號-2 網站地圖